Компания Энерго-План
Вы находитесь: Главная / Продукция

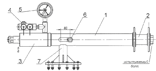
Установка испытания стяжных болтов М30 модель У-10

Предназначена для испытания стяжных болтов М30 на растяжение.
Установка состоит из неподвижной гильзы (1), винта (2), гидроцилиндра с пружинным возвратом (3), гидрозамка (4), контактного манометра (5), ограничительного болта (6) и основания (7).
Шток гидроцилиндра (3) имеет резьбовое отверстие, в которое вворачивается испытываемый болт. Ход штока ограничивается перемещением болта (6) в неподвижной гильзе (1).
Винт (2) закручивается по резьбе в неподвижной гильзе (1) и устанавливается в зависимости от длины испытываемого болта.
С помощью контактного манометра (5) устанавливается диапазон давлений, в зависимости от необходимого для испытания болта усилия, которое определяется по таблице нагружений.
Удержание давления в гидроцилиндре осуществляется гидрозамком (4) и его визуально можно наблюдать с помощью электролампочки (на рисунке не показана). Если лампочка горит, то в системе удерживается максимально установленное давление. Если лампочка погасла, то произошла утечка масла, либо произошло растяжение испытываемого болта.
офис: г.Екатеринбург, ул.Походная д.81, оф.4 (Схема проезда) тел: (343) 222-07-70 (многоканальный)